
| EAN | 7314150285129 |
| Referencia | NS506-300 |
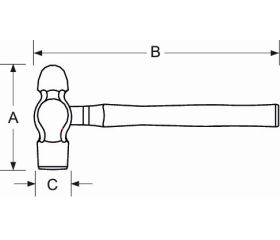
| Descripción corta | Martillo de bola anti-chispa, con cabeza de aluminio bronce y mango de madera (340 g) |
| Peso del artículo (en kg) | 0.4 |
| Variante | NS506-300 |
| Longitud total | 300 mm |
| Longitud de la cabeza | 90 mm |
| Peso de la cabeza del martillo, g | 340 g |
| Anchura de la cabeza | 29 mm |