
| EAN | 7314150344024 |
| Referencia | BE1TS-6 |
| Descripción corta | Llaves en T con vaso giratorio |
| Peso del artículo (en kg) | 0.475 |
| Variante | BE1TS-6 |
| Anchura interna del vaso | 6 mm |
| Profundidad de los rodamientos | 19 mm |
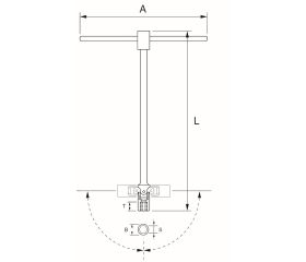
| Ángulo en grados | 70 ° |
| Longitud, mm B | 10 mm |
| Longitud, mm A | 198 mm |
| Longitud, mm L | 500 mm |